Einleitung
Mit dem X1-4KE Pro erweitert ViewSonic seine Pro-Serie. Während der X2-4KE Pro mit einem Weitwinkelobjektiv ausgestattet ist, um in kleinen Räumen riesengroße Bilder darzustellen, besitzt der X1-4KE Pro ein Standard-Zoomobjektiv, um ihn weiter entfernt im Raum aufzustellen. Äußerlich sehen die Geräte identisch aus. Beide besitzen Google TV mit Bezahldiensten wie Disney+, Netflix, Prime Video und Apple TV. Smart-Funktionen wie Wireless Mirroring, für die kabellose Signalübertragung vom Handy und Tablet sowie Bluetooth für die Nutzung von entsprechend ausgestatteten Kopfhörern stehen ebenfalls zur Verfügung.
Die native Auflösung des ViewSonic X1-4KE Pro wird auf 3840 x 2160 Pixel beziffert, die Helligkeit auf 3300 LED-Lumen. Das Kontrastverhältnis soll 3 500 000:1 betragen. Die Lebensdauer der LED-Lichtquelle wird im Normal-Modus mit 60 000 Stunden veranschlagt.
Mit einem Gewicht von 3,68 kg ist der Projektor wie geschaffen, um ihn auch mobil einzusetzen. Das Soundsystem von Harman Kardon liefert 2 x 6 Watt, was nominell zwar nicht viel ist, aber für einen überraschend vollen Klang sorgt.
Optisch zeigt das Xbox-Design, welche Zielgruppe angesprochen wird: Gamer. Mit einem Input-Lag von 4,2 ms ist der Proband wie geschaffen fürs Zocken.
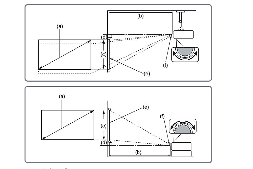
Das 1,3-fache Zoomobjektiv kann eine 2,50 m breite Leinwand aus einer Distanz von 2,88 bis 3,75 m ausleuchten. Der Lens-Shift bietet mit +10 % (vertikal) zwar einen recht geringen Verschiebebereich, ist aber bei der präzisen Bildanpassung sehr hilfreich.
Dolby Vision und HDR10+ glänzen mit Abwesenheit, ebenso wie ein dynamisches Tonemapping. Stattdessen kommt ein betagtes statisches Tonemapping zum Einsatz, um HDR10- und HLG-Signale aufzupeppen.
Freunde von 3D-Filmen kommen dank der Wiedergabe von 144 Hz (Triple-Flash) voll auf ihre Kosten.
Den Preis beziffert ViewSonic auf 1.649 Euro. Detaillierte Informationen zu den Ausstattungsmerkmalen und den Spezifikationen finden Sie im Datenblatt des ViewSonic X1-4KE Pro.
Lieferumfang
Gut geschützt wird der ViewSonic X1-4KE Pro in einem schmucklosen hellbraunen Karton mit weißem Aufdruck geliefert. Folgende Komponenten gehören zum Lieferumfang: Projektor, Fernbedienung mit Batterien, Netzkabel, USB-C-Kabel (1 m) und eine Schnellstartanleitung in verschiedenen Sprachen.

Optik und Gestaltung
Der ViewSonic X1-4KE Pro ist optisch an das Design der Xbox angelehnt, was an den charakteristischen grünen Seitenteilen festzumachen ist. Das Zoomobjektiv ist dezentral auf der Vorderseite ins Gehäuse eingelassen. Davor ist eine Streulichtblende mit 4K-Schriftzug montiert, der Infrarotsender befindet sich links daneben.
Alle Schnittstellen und der Netzkabelanschluss sind auf Rückseite.
Hinter zwei Kunststoffgittern sind auf der linken und der rechten Seite Lautsprecher und Lüfter verbaut.
Die Oberseite ist aufgeräumt. Eine Schiebeklappe besteht aus glänzendem Kunststoff und dem ViewSonic-Logo. Weiter hinten ziert der Schriftzug Harman Kardon das Gehäuse.
Auf der Unterseite befinden sich drei Haltepunkte für die optional erhältliche Deckenhalterung, vier Standfüße mit rutschfesten Gummiunterlagen und eine eingeklappte zweistufige Leiste, um den Projektor vorn etwas aufzubocken.
Über dem Objektiv ist eine Schiebeklappe platziert. Dahinter sind die Stellregler für Zoom, Fokus und Lens-Shift ins Gehäuse eingelassen. Das komplette Bedienfeld ist rechts angeordnet.
3,68 kg bringt der Proband auf die Waage. Eine passende Tragetasche kann für 50 Euro vom Hersteller erworben werden. Damit ist der X1-4KE Pro hervorragend für den gelegentlichen Transport zu Freunden oder für eine zuverlässige Festinstallation im Wohnzimmer und Heimkino geeignet.
Die Abmessungen des ViewSonic X1-4KE Pro betragen 355 x 121 x 251 mm (B x H x T).

Optik und Design finden wir sehr ansprechend. Die Verarbeitung und die Materialqualität entsprechen einem Projektor in diesem Preissegment.
Anschlüsse
Auf der Rückseite des ViewSonic X1-4KE Pro befinden sich alle Schnittstellen. Von den zwei HDMI-Anschlüssen unterstützt einer eARC, um den Ton zu einem verbundenen AV-Receiver zu übertragen. Die USB-Buchse nimmt keine Bildsignale entgegen, sondern ist allein für Service-Dienste vorgesehen. Dafür können via USB-C die Bild- und Tonsignale vom Smartphone und PC übertragen werden. Der Audio-Ausgang ist für den Anschluss eines Kopfhörers vorgesehen, während RS232 zur Steuerung des Beamers genutzt werden kann.
Um Störeinflüsse durch die Stromaufnahme auf die Bild- und Tonsignale zu minimieren, befindet sich der Netzanschluss maximal entfernt unter den audiovisuellen Schnittstellen.
Aufstellung und Installation
Auf verstellbare Füße muss wie beim Geschwistermodell verzichtet werden. Stattdessen ist eine in zwei Stufen ausklappbare Mittelleiste verbaut, um den ViewSonic X1-4KE Pro vorn anzuheben. Der Beamer kann auf Höhe der Leinwandunterkante auf einem Tisch oder überkopf auf Höhe der Leinwandoberkante (zum Beispiel unter der Zimmerdecke) installiert werden. Für die passende Deckenhalterung (PJ-WMK-007) veranschlagt der Hersteller 90 Euro.
Fokus und Bildgröße lassen sich ganz simpel einstellen. Die Regler dafür sind oberhalb des Objektivs ins Gehäuse eingelassen. Mit 10 % ist der Stellbereich des Lens-Shifts zwar vertikal stark limitiert, aber es erleichtert die finale Anpassung des Bildes auf der Leinwand.
Die Regler sind leichtgängig und arbeiten präzise. Ein Schlupfen oder Rutschen verzeichnen wir nicht.
Eine weitere Funktion ist der „Stumm-Modus“. Dieser ist ab Werk ausgeschaltet. Hierbei handelt es sich um die Möglichkeit, XPR-Shift ein- und auszuschalten.
Bei deaktiviertem „Stumm-Modus“ ist XPR-Shift aktiv und erzeugt ein leises, hochfrequentes Surren. Es wird die 4K-Auflösung erzeugt. Durch das Pixel-Shifting verschwindet das DLP-Grit.
Wird der „Stumm-Modus“ eingeschaltet, ist der Projektor schlagartig leiser, weil das XPR-Shift abgeschaltet wird. Das hochfrequente Surren verschwindet.
Gleichzeitig wird die Auflösung auf Full HD reduziert und das Pixelraster sichtbar.
Wir empfehlen, den „Stumm-Modus“ ausgeschaltet zu lassen, weil die höhere Auflösung unserer Meinung nach schwerer wiegt als das etwas leisere Betriebsgeräusch im eingeschalteten „Stumm-Modus“.
Wie alle Heimkino-Beamer sollte der ViewSonic X1-4KE Pro in Waage aufgestellt werden, weil damit auf eine Trapezkorrektur verzichtet werden kann. Letztere führt nämlich zu sichtbaren Auflösungsverlusten.
Wer eine Panoramaleinwand im Heimkino beherbergt, dem bietet die Warping-Funktion eine große Hilfe. Für die präzise Anpassung auf einen Curved-Screen kann das Bild an 60 Punkten eingestellt werden. Damit ist eine geometrisch korrekte Wiedergabe gewährleistet.
Bildgröße
Das Objektiv mit 1,3-fachem Zoom bietet genügend Flexibilität, um eine 2,50 m breite 16:9-Leinwand aus einer Entfernung von 2,88 bis 3,75 m komplett auszuleuchten.
Für Heimkinos, Wohnzimmer und unterwegs ist der ViewSonic X1-4KE Pro flexibel genug, um große Bilder zu erzeugen, ohne dass er mitten im Raum hängen muss. Die nachfolgende Distanztabelle zeigt die Aufstellungsmöglichkeiten detailliert für die Projektion im 16:9-Format.
Betrieb
Der ViewSonic X1-4KE Pro benötigt lediglich 25 Sekunden zum Hochfahren. Die Farben erscheinen sofort natürlich. Trotzdem braucht er, wie alle anderen Projektoren, rund 30 Minuten, bis er seinen optimalen Arbeitspunkt erreicht hat. Unsere Messungen zeigen, dass bis dahin Farben, Gamma und Weißpunkt noch ein bisschen driften. Diese Abweichungen fallen aber so gering aus, dass sie wie schon beim Schwestermodell unterhalb der Wahrnehmungsschwelle liegen – deshalb sind sie nur der Vollständigkeit halber hier vermerkt.
Der Fokus lässt sich feinfühlig einstellen, sodass der Proband bis in die Ecken ein messerscharfes Ergebnis liefert. Da die Regler für Fokus, Zoom und Lens-Shift in die Oberseite des Gehäuses eingelassen und mit einer Schiebeklappe verschlossen sind, kann die Schärfe nicht versehentlich verstellt werden.
Das Herunterfahren geschieht in einer Rekordzeit von drei Sekunden. Danach befindet sich das Gerät im Stand-by.
Stromverbrauch
Die maximale Leistungsaufnahme gibt ViewSonic mit 236 Watt an. Wir ermitteln im hohen Lichtmodus nach der Kalibrierung lediglich 155 Watt. Damit ist der X1-4KE Pro erfreulich sparsam und für den Dauereinsatz wie geschaffen. Im Stand-by messen wir übliche 0,3 Wat.
| Bildmodus | Maximal | Stand-by |
| Lampenleistung: Hoch | 155 Watt | 0,3 Watt |
*Stromverbrauch in Watt pro Stunde




























