Einleitung
Wer häufig mit vielen Anwendungen gleichzeitig arbeitet, wird sich über die Markteinführung des EIZO EV3285 freuen. Das neue Vorzeigemodell der FlexScan-Reihe verfügt über ein 4K-LCD-Display mit 31,5-Zoll-Diagonale und ist mit seinem rahmenlosen Design sowie einem USB-Typ-C-Anschluss ideal für Multi-Monitor-Systeme und moderne Büros geeignet. Das Gehäuse ist in schwarzer (EV3285-BK) oder weißer (EV3285-WT) Ausführung erhältlich und fügt sich dank farblich abgestimmter Kabel nahtlos in das Design der jeweiligen Umgebung ein.
Aufgrund einer Pixeldichte von 140 dpi werden Bilder und Texte gestochen scharf und klar dargestellt. Da das Bild ferner in allen Helligkeitsstufen flimmerfrei ist, werden die Augen auch an einem langen Arbeitstag entlastet. Auf Wunsch wird die Helligkeit dabei automatisch per Sensor an die Umgebungsbeleuchtung angepasst. Für perfekte Ergonomie soll auch der platzsparende Standfuß sorgen, der um 195 mm höhenverstellbar ist und einen Schwenkwinkel von 344 Grad bietet. Optional ist sogar eine Thin-Client-Halterung erhältlich, um beispielsweise einen Mini-PC an der Rückseite des Monitors zu befestigen.
Das Feature-Set ist insgesamt wohlüberlegt auf den Business-Bereich abgestimmt. Über den USB-Typ-C-Anschluss kann der FlexScan EV3285 über ein einziges Kabel Video-, Audio- und USB-Signale empfangen – mit einer Geschwindigkeit von bis zu 5 Gbit/s. Gleichzeitig können Notebooks und andere Geräte über das USB-Typ-C-Kabel mit einer Leistung von bis zu 60 Watt aufgeladen werden.
Um die Multitasking-Fähigkeiten des riesigen Displays optimal auszureizen, kann der EIZO EV3285 mithilfe der Modi „PbyP“ (Bild neben Bild) und „PinP“ (Bild in Bild) auch mehrere Eingangssignale gleichzeitig auf dem Bildschirm darstellen. Die Konfiguration und Administration werden dank der EIZO-eigenen Software „Screen InStyle“ selbst bei umfangreichen Mehrschirmkonfigurationen zum Kinderspiel.
Video abspielen: Das Video wird von YouTube eingebettet. Es gelten die Datenschutzerklärungen von Google. Sobald das Video abgespielt wird, werden Cookies von Dritten gesetzt, womit Sie sich einverstanden erklären.
Hands on EIZO EV3285-BK
Der EIZO EV3285 soll sich laut Hersteller vor allem ideal für Leitstände, Büros und CAD-Anwendungen sowie Handelsräume eignen und war zum Zeitpunkt der Testerstellung für 1.333 EUR im Handel erhältlich (UVP: 1.522 EUR).
Detaillierte Informationen zu den Ausstattungsmerkmalen und den Spezifikationen finden Sie im EIZO EV3285-BK Datenblatt.
Lieferumfang
Zusätzlich zum obligatorischen Netzkabel enthält der Lieferumfang sehr hochwertige Kabel für alle Anschlussarten (DP, HDMI, USB-C). Die Kabel tragen nicht nur die Aufschrift „Premium“, sondern fühlen sich auch so an. Das HDMI-Kabel hat vergoldete Kontakte.

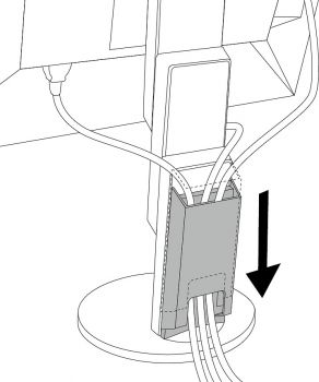
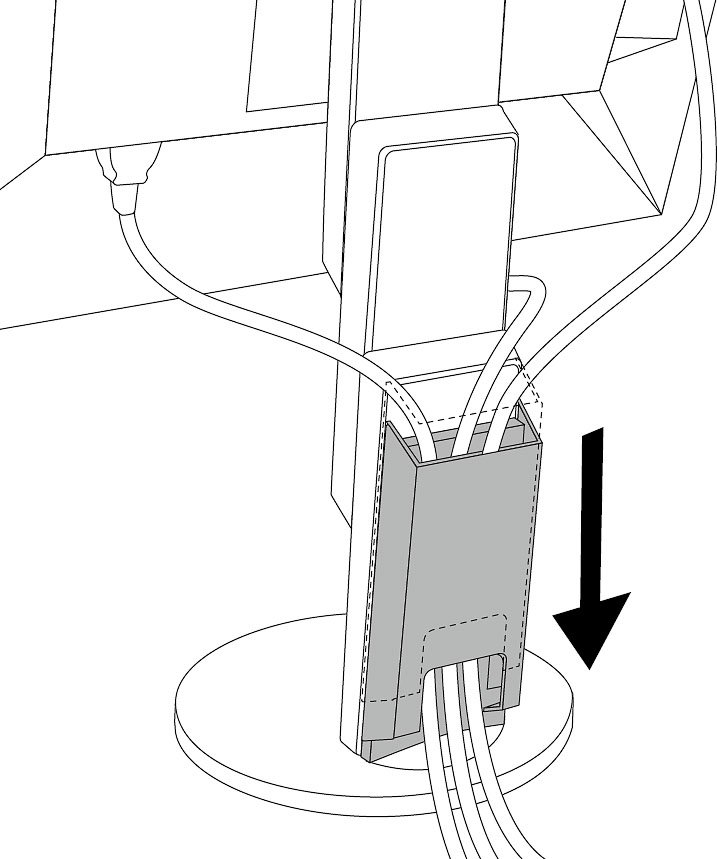
Für das Kabelmanagement gibt es zwei verschiedene Lösungen: einen einfachen Clip oder eine komplette Abdeckung. Auf das Beilegen einer CD hat EIZO zwar verzichtet, Handbuch, Treiber, Standard-Farbprofil und Zusatz-Software sind aber über die Hersteller-Website leicht zu finden.
Optik und Mechanik
Der EIZO EV3285 wird bereits komplett auf dem Standfuß montiert geliefert und muss nur noch auf den Schreibtisch gehievt werden. Das Standbein kann aber per Druckknopf auch ganz leicht entfernt werden. Für die alternative Montage an der Wand bzw. auf einem Schwenkarm sind Gewinde nach dem VESA-Standard (100 mm × 100 mm) vorhanden.
Das Design des EIZO EV3285 ist – wie von der FlexScan-Serie gewohnt – eher nüchtern und funktional gehalten. Anstelle von Zierrat und Schnörkeln konzentrieren sich die Geräte auf die inneren Werte. Von vorn fällt vor allem die rahmenlose Bauweise auf. Das ultraschmale Design überzeugt mit einem sehr schmalen Gehäuserahmen und einer völlig planen Gerätefront. Der Gehäuserahmen ist beim EIZO EV3285 mit ca. 4 mm allerdings etwas breiter als beim kleineren EV2785 (1 mm). Zusammen mit der nicht genutzten Display-Fläche sind es seitlich und oben knapp 1 cm und unten knapp 1,5 cm, die beim Zusammenstellen von Multi-Monitor-Systemen für eine Bildunterbrechung sorgen.
Hierbei ist die Farbe Schwarz wie unten in den Abbildungen vermutlich auch die bessere Wahl, ansonsten wirkt der EIZO EV3285 in Weiß einfach noch etwas edler. Aber das ist natürlich Geschmackssache.
So oder so ist die Verarbeitung des Displays selbst tadellos und hinterlässt einen sehr hochwertigen Eindruck. Das Finish der nur sehr leicht angerauten Rückseite fühlt sich regelrecht edel an und macht gleichzeitig einen sehr robusten und pflegeleichten Eindruck.
Einen weit weniger guten Eindruck hinterlässt leider die Standbeinkonstruktion. Zunächst fällt bereits beim Transport auf den Schreibtisch speziell beim EIZO EV3285 die Kopflastigkeit der Konstruktion auf.
Mit 11 kg (inkl. Standbein) ist der EIZO EV3285 im Vergleich zu anderen Geräten gar nicht so schwer. Das Gewicht ist überwiegend der hochwertigen Elektronik im Display-Gehäuse geschuldet. Zwar gibt es auf der Display-Rückseite bei den Lüftungsschlitzen eine Art Tragegriff, doch ist der Transport des Gerätes trotzdem eher unbequem.

Optisch mag die zweistufige Höhenverstellung bei den FlexScan-Modellen vor allem von der Seite betrachtet nicht sonderlich filigran wirken. Dafür erhält man im Gegenzug normalerweise einen enormen Einstellbereich in der Höhe und kann das Display fast bis auf die Tischkante absenken (tiefste Position: ca. 1,5 cm über dem Schreibtisch bei aufrechter Stellung). Waren es beim EV2785 noch knapp 18 cm, sind es beim EIZO EV3285 allerdings nur noch knapp 15 cm Höhenverstellung, obwohl die Standbeinkonstruktion identisch aussieht. Das ist zwar nur ein üblicher Standardwert, bei der Display-Größe aber nichtsdestoweniger völlig ausreichend.
Erheblich gestört hat uns im Test vor allem die Schwergängigkeit der Höhenverstellung, die einen eher ans Fitnessstudio als an Ergonomie denken lässt. Der initiale Kraftaufwand beim Absenken ist enorm. Ist die Schwelle überschritten, wird es gefährlich für alles, was sich unter dem Monitor befindet. Das Gleiche gilt beim Höherstellen. Abhängig vom eingestellten Neigungswinkel benötigt man einiges an Kraft und eigentlich drei Hände – zwei zum Höherstellen an den Seiten und eine zum Gegenhalten am Standbein –, damit sich das Gerät aufgrund der Kopflastigkeit nicht anhebt.
Sicher, der Drehteller benötigt mit nur 22,5 cm Durchmesser wenig Stellfläche. Beim EIZO CG2730 sind es 24 cm (27 Zoll, 9 kg, generell andere Standbeinkonstruktion). Die Standbeinkonstruktion der FlexScan-Reihe scheint beim EIZO EV3285 aber auch an seiner Belastungsgrenze zu sein. Selbst die Bedienung der sehr sensiblen Touch-Tasten kann schon zu erheblichem Nachwackeln des Displays führen. Vielleicht ist das der Grund, warum EIZO den sonst üblichen Schwenk in das Hochformat (Pivot-Funktion) beim EV3285 überraschenderweise einfach weggelassen hat.
Die anderen Ergonomiefunktionen wie Drehung (344 Grad) und Neigung (-5 bis +35 Grad) fallen dagegen wie gewohnt sehr üppig aus und sind auch leichtgängig zu verstellen.
Wer sein Gerät nicht mehrmals täglich neu einstellt, sollte die Kritik hier auch nicht überbewerten. Hat man seine optimale Position erst mal gefunden, steht der EIZO EV3285 sehr stabil auf dem Schreibtisch. Wer allerdings beispielsweise schon mal die Gasdruck-gefederte Höhenverstellung mit Gewichtsausgleich beim LG 32UD99 erlebt hat, kommt ins Schwelgen. Wobei auch nicht unerwähnt bleiben darf, dass die LG Standfußkonstruktion andere Defizite hat.

Die gute Gesamtwertung in der Wertungstabelle am Schluss in der Kategorie „Gehäuseverarbeitung/Mechanik“ ist daher wie folgt zu verstehen: Gehäuseverarbeitung (Display): sehr gut; Standbein und Mechanik: zufriedenstellend.

Die Stromversorgung wurde beim EV3285 ins Gehäuse integriert und hat genug Leistung, um über die USB-C-Verbindung auch externe Geräte mit bis zu 60 Watt zu versorgen. Zur passiven Kühlung ist auf der Rückseite ein Erker mit Lüftungsschlitzen eingelassen, der auch optisch einen netten Akzent setzt. Im normalen Display-Betrieb konnten wir im Bereich der Lüftungsschlitze nur eine minimale Erwärmung feststellen. Eine leichte, aber deutlich spürbare Erwärmung fanden wir in einem etwa handflächengroßen Bereich rechts neben der Standbeinbefestigung.


















Hat das getestete Gerät HDR10, 400 oder höher?
Warum schreibt ihr immer von 140 cd/cm² (Die angestrebte Helligkeit lag bei 140 cd/m²) und nicht von z.B. 400 cd/cm² ?
140 sind für einen Hellen Raum doch viel zu dunkel?
Laut Datenblatt hat das Gerät 350 cd/cm².
Laut Datenblatt hat er kein HDR. Und so etwas nennt sich „Premium 4K-Monitor“?
Das praktischste ist für mich der USB-C Upstream Port der eine Dockingstation überflüssig macht.
Und verglichen mit dem EV2736W bietet man statt DVI HDMI Anschlüsse um auch mal ein anderes Gerät wie BluRay Player, Amazon FireTV, Sky Q.
Doch HDMI 1.4 reicht nicht aus damit der Zuspieler 4K Inhalte freigibt, dafür ist HDMI 2.0 mit HDCP 2.2 erforderlich.
Eine Bild-in-Bild Funktion hat Seltenheitswert.
E‘ adatto per un uso saltuario di post produzione fotografica? Come si comporta per i film?
La serie EV è stata progettata come un monitor da ufficio. È possibile modificare le immagini e guardare video su di esso, ma se avete una certa aspettativa quando si tratta di editing delle immagini, probabilmente dovreste scegliere la serie CS. Purtroppo, EIZO non offre un monitor da 32 pollici con risoluzione 4K nella serie CS.
Per consigli di acquisto specifici, si prega di utilizzare il nostro forum.
Ich hätte eine Frage: Ich teste den Monitor gerade, und sehe im OSD diese drei Werte für „RGB“ nicht. Sieht man das nur in der Kalibrierungssoftware? Vielen Dank!
Wie wäre es mit einem Blick ins Handbuch. Beantwortet viele Fragen, auch deine. RGB ist unter erweiterte Einstellungen /Gain-Einstellung zu finden. Aber nur Im Modus User1 und User2.
Der „Preis (incl. MwSt. in Euro): ab 775,00 €“ der am Ende des Bewertungsfazits ist sicher ein Druckfehler? Im Netz ist er in der Regel ca. 500 € teuerer. Oder wo wird dieser EIZO Monitor für 775 € angeboten?
Die Preise stammen direkt von Amazon. Leider gibt es dort auch mal eine falsche Einstellung. Heute ist der Preis korrekt.
Habe Anfang des Monats einen EV3285-WT gekauft und bin im Großen und Ganzen mit dem Bild auch sehr zufrieden… Allerdings ist das Spaltmaß an der unteren Bildschirmkante irgendwie seltsam – ganz links und ganz rechts schließt die weißte Plastikleiste ziemlich bündig mit dem eigentlichen Panel ab, in der Mitte ist dann zwischen dem Panel und dieser Leiste etwas über einem Millimeter Platz. Laut einem EIZO Reparaturservice Mitarbeiter ist das wohl bauartbedingt, da die Kunden immer größere Monitore am Besten ohne Rahmen haben möchten.
Haben Sie das bei Ihrem Testgerät auch bemerkt?
Ich werde noch einmal eine Mail zu EIZO schicken…
Jap, ist bei meinem (Kaufdatum 12.2020) auch so… leider. Einen Tod muss man wohl sterben 🙁
My BenQ PD2700U has that issue, too.
Auf Seite 2/6 fehlt etwas Text:
„Beim Anschließen dicker USB-Sticks kann es im seitlichen Erker etwas eng werden. Die Kabel vom Kartenl“
Danke für den Hinweis, das wurde korrigiert. Der Satz lautet: Beim Anschließen dicker USB-Sticks kann es im seitlichen Erker etwas eng werden. Die Kabel vom Kartenleser, von externen Festplatten etc. lassen sich dafür ganz gut verstecken.
Bei mir fehlt der Text immer noch.
Wo Du Recht hast .. Jetzt ist er tatsächlich korrigiert. Danke für den nochmaligen Hinweis.
Ich hätte noch eine Frage. Allgemein suche ich einen Monitor der ebenfalls so ein geniales Bild hat aber halt auch Freesync kann. Gibt es da eine Empfehlung? 4k 27-32 Zoll mit Referenz Bild und Freesync :=).
Danke sehr